HOME
ã߰
ȸҰ
ǰҰ
FAMILY/ATTENTION SITE
ڷ
λ縻
ȸҰ
ȸ
ְŷó
ô
系Խ
PARTS FEEDER
INDEX DRIVE
CLUTCH BRAKE
NEW-ERA
FAMILY/ATTENTION SITE
ڷ
亯
Խ
ǰҰ
Product
PARTS FEEDER
ڽ
Ʈѷ
Ÿǰ
INDEX DRIVE
Indexing Drive HD ø
Indexing Drive HA ø
ӱ
Torque Limiter
Ÿǰ
CLUTCH BRAKE
ֹּ
Ŭġ
극ũ
C/BƮ
극ũ
ġ
NEW-ERA
̴ڵ
̴Ϸ
пǸ
̵
Ŭġ
|
> ǰҰ > Ŭġ
ZC-SERIES
ZCH-SERIES
ZCP-SERIES
ZCS-SERIES
ZCSH-SERIES
ZCSP-SERIES
ZCH-SERIES
>>
>>
ǰ :
ZCH Ŭġ
۹ :
۵
¹ :
-
Ư ¡ :
÷ Ϳ Ƹ սŲ , ̽ Ŭġ
ǰ
ũ(N.m)
(DC-V)
ִȸ
(rpm)
ٿε
ZCH-06
5
5.5
24(90)
8,000
ZCH-08
10
11
24(90)
6,000
ZCH-10
20
22
24(90)
5,000
ZCH-12
40
45
24(90)
4,000
ZCH-16
80
90
24(90)
3,000
ZCH-20
180
200
24(90)
3,000
ZCH-25
380
400
24(90)
2,000
ǰ
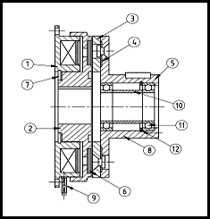
ǰ
1
2
3
Ƹ
4
ǽ
5
H-
6
̴
7
8
庼Ʈ
9
10
̼
11
12